Skip to main content

Support WBUR

Wrist Watching: Amazon Patents System To Track, Guide Employees' Hands

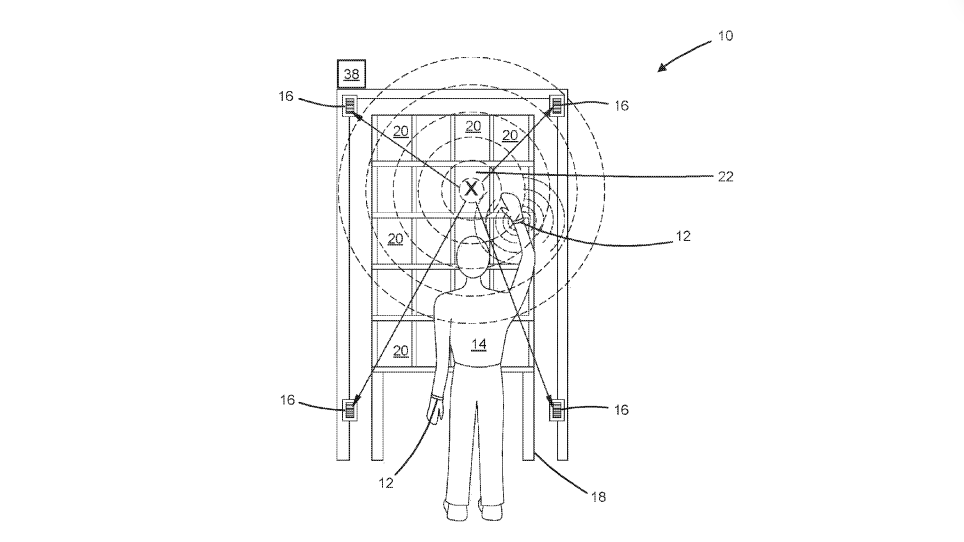
A diagram from an Amazon patent application shows a human worker (labeled with "14") wearing an ultrasonic bracelet tracking his or her hand movements and providing feedback. The patent was granted on Tuesday. (U.S. Patent and Trademark Office)
A diagram from an Amazon patent application shows a human worker (labeled with "14") wearing an ultrasonic bracelet tracking his or her hand movements and providing feedback. The patent was granted on Tuesday. (U.S. Patent and Trademark Office)

Related:

Support WBUR

Support WBUR

Listen Live